
The Historical New Orleans Collection.
After the Seven Years War, France was forced to give up all of its lands in North America. France feared Louisiana would become part of the British Commonwealth. In a secret treaty, The Treaty of Fontainebleau, France ceded its America territory west of the Mississippi River to Spain. As a result, Spain controlled the Port of New Orleans at the mouth of the Mississippi River.

Charles III of Spain in Hunting Costume, Oil on canvas by Goya, Prado Madrid
..

A birds-eye perspective on New Orleans ca. 1885, with the Mississippi River in the foreground. Image courtesy of the Library of Congress photographic .....

Thomas Pinckney 1750-1828
Library of Congress.

Pinckney's Treaty: October 27, 1795 Image from https://www.sutori.com/...
The Mississippi River was quickly becoming an economic necessity for the United States. Although the Port of New Orleans was controlled by Spain, Thomas Pinckney, an American envoy, negotiated a treaty. Pinckney's Treaty granted American merchants the right to freely navigate the Mississippi and provided a place in New Orleans to deposit goods for duty-free re-exports.

The Cotton Gin . Image frhttp://www.eliwhitney.org/ .

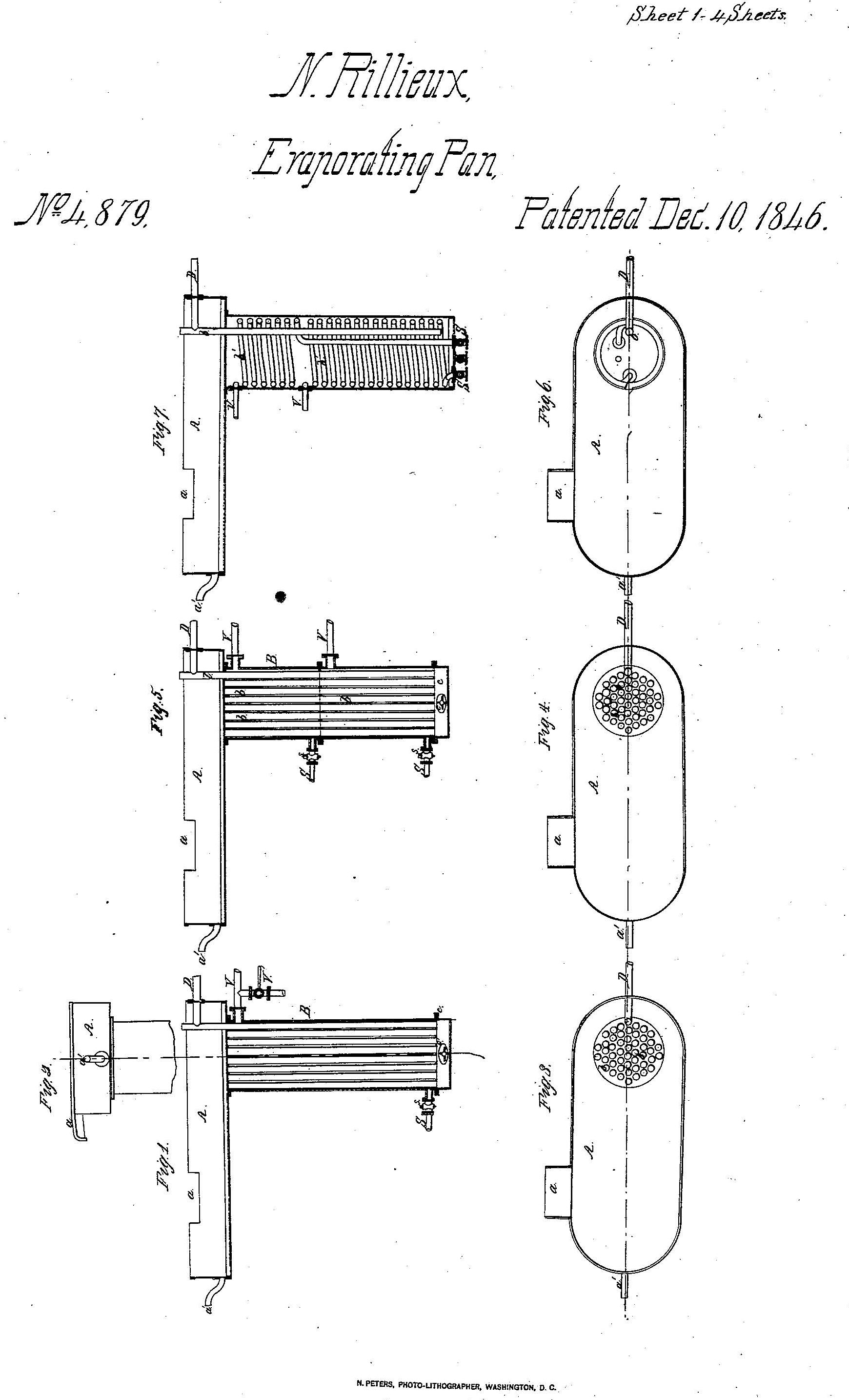
IIllustration from U.S. patent No. 4879, issued to Norbert Rillieux on Dec 10, 1846, showing the evaporating pan. U.S. Patent and Trademark Office..

INew Orleans 1841 color engraving Photo by A. Mondelli and William J. Bennett.
With the inventions of the Cotton Gin and the sugar distilling machines, Louisiana was transformed into an agricultural landscape. New Orleans soon became a bustling city and a burden to Spain. On October 1, 1800, Spain ceded Louisiana back to France in the secret Treaty of San Ildefonso.